Showing 1 to 15 of 18 results


Non-invasive method for the diagnosis and screening of colorectal cancer and advanced adenomas in asymptomatic individuals
Patents for licensing CINBIO

Nanoimmunotech
Investment Opportunities in Startups and Spinoffs CINBIO

Procedure for the genetic identification of the european spices of the maja genero
Patents for licensing CINBIO![Aqueous antioxidant extracts of vegetable raw materials, procedure of obtaining and their use in the composition of a cosmetic and[…]](https://www.innoget.com/uploads//5d466f2980870fb3f64b423920f8784068142a2c.jpg)

Aqueous antioxidant extracts of vegetable raw materials, procedure of obtaining and their use in the composition of a cosmetic and[…]
Patents for licensing CINBIO

Novel derivatives of psammaplin A, a method for their synthesis and their use for the prevention or treatment of cancer
Patents for licensing CINBIO

Stereoselective synthesis of 9-CIS.13,14- Dihydroretinoic acid and its ethyl esters
Patents for licensing CINBIO

Precursor compounds for providing retinoids of the vitamin A5 pathway and uses thereof
Patents for licensing CINBIO

Nanofaber
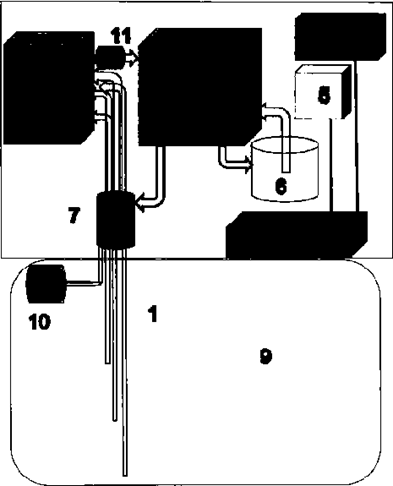
Investment Opportunities in Startups and Spinoffs CINBIO![System and method of acquisition of samples at different depths for automatic and real-time monitoring of water quality in an aqua[…]](https://www.innoget.com/uploads//f03ee73da62011e2536d69f683f59bbee67bd094.png)

System and method of acquisition of samples at different depths for automatic and real-time monitoring of water quality in an aqua[…]
Patents for licensing CINBIO

Method for cell identification and quantification with gold nanoparticles through hydrogen ion reduction
Patents for licensing CINBIO

Process for the purification of xylooligosaccharides
Patents for licensing CINBIO

In vitro method for the diagnosis or prognosis of neurodegenerative disorders
Patents for licensing CINBIO

Method for the diagnosis of arthrosis
Patents for licensing CINBIO

Coverage of carbon nanotubes for use as an anchoring system for nano and micrometer devices with therapeutic activity
Patents for licensing CINBIO
